Domek zabawowy J230
0.00 zł
Domek zabawowy to z pewnością jedno z najbardziej lubianych przez dzieci urządzeń zabawowych. Pozwala on między innymi zrelaksować się na siedzisku oraz uchronić się przed szkodliwymi promieniami słońca.
Produkt został zbadany zgodnie z normą europejską EN 1176-2008, posiada aktualny certyfikat TÜV.
Informacje dodatkowe
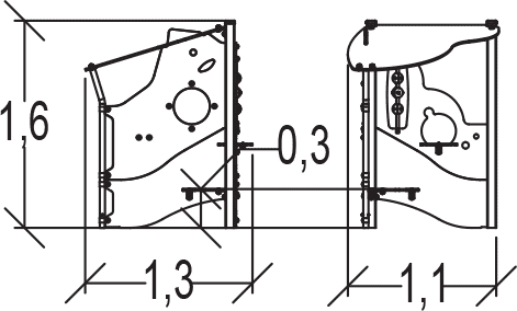
| Wysokość użytkownika | 0,6 |
|---|---|
| Wiek użytkownika | od pierwszego roku życia |
| Ilość użytkowników | 6 |
| Szerokość strefy | 4,17 |
| Długość strefy | 4,29 |
| Certyfikat EN 1176 | Tak |
| Producent | Proludic |





